Zutaten für die Ziegelsteinmaschine

PLD-Serie Chargenmaschine


Für Bau-, Straßen- und Brückenprojekte


PLD800-Modell für Ziegelsteinmaschinen-Zutaten


Zentraler Auslass für feuchte Bedingungen


Patentierte Schwenkwand (lange Lebensdauer)


Bandaustrag mit präziser Wiegung


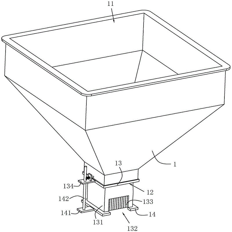
Produktdetails

1. Silomanagement für raffinierte Rohstoffe

Es wird ein unterteiltes Lagersystem verwendet, wobei jedes Silo einem bestimmten Rohstoff zugeordnet ist, um Kreuzkontaminationen zwischen verschiedenen Materialien zu vermeiden.

Zur Überwachung des verbleibenden Rohmaterials im Silo in Echtzeit wird ein Füllstandsmessgerät (z. B. ein Radarfüllstandsmessgerät) installiert, um eine rechtzeitige Nachfüllung zu gewährleisten und ein Überfüllen zu verhindern.

Zutaten für die Ziegelsteinmaschine

2. Quantitative Fütterungskontrolle

Jeder Siloauslass ist mit einer unabhängigen Dosiervorrichtung (z. B. einer Förderschnecke oder einer Bandwaage) ausgestattet, um eine präzise Dosierung eines einzelnen Rohstoffs zu erreichen.

Ein geschlossenes Regelungssystem nutzt eine Wägezelle, um die tatsächliche Zufuhrmenge zu erfassen. Die Drehzahl des Geräts wird nach Vergleich mit dem Sollwert automatisch angepasst, wodurch ein Abweichungsverhältnis von ±0,5 % gewährleistet wird.

3. Förderung von Mehrkomponenten-Zuschlagstoffen

Die von den einzelnen Dosiereinrichtungen abgegebenen Rohstoffe werden über ein Förderband oder einen Kratzförderer zur Mischanlage transportiert. Während des gesamten Fördervorgangs wird eine gleichmäßige Fördergeschwindigkeit aufrechterhalten, um Materialansammlungen oder -bruch zu vermeiden.

Seriennummer

Name

Spezifikation

Menge

Einheit

1

PLD1200

Rohstofflager

4 m³

2

Person

Wackelnder Bildschirm

2800*2500

1

Person

Wiegebehälter

0,8 m²

1

Person

Sensor

ZMLBF-1000

3

Person

Motor

2,2 kW

2

Turm

Schüttelmotor

2,2 kW

1

Turm

Fließband

B500

3

Streifen

Rahmen

Stahlkonstruktion

1

Satz


Hinterlassen Sie Ihre Nachrichten

Verwandte Produkte

x

Beliebte Produkte

x
x